Stellantis Secures Patent for Innovative Deployable Cart System
New Load Floor Organizer Transforms Trunk or Bed into a Rolling Utility Cart
While browsing the United States Patent and Trademark Office (USPTO) website, I came across something that immediately caught my attention—Stellantis (FCA US, LLC) has been granted a fresh new patent for a deployable cart and organizer designed to slide right out of the load floor of a vehicle.

Filed on November 17, 2023, and officially granted on May 22, 2025, the patent outlines a clever system that blends convenience and utility in a way that makes you wonder why this hasn’t been done before.
What really stood out were the patent drawings. Among them were illustrations clearly showing a 2007 Dodge Nitro with its classic Load N’ Go slidable cargo floor, what appears to be the Ram 1500 Revolution Concept electric pickup, and even Ford’s F-150 Lightning—possibly suggesting that this design isn’t meant for just a future product, but could instead be utilized through Mopar and offered for a wide range of vehicles, whether new or old, from the Chrysler Group or even other automakers.

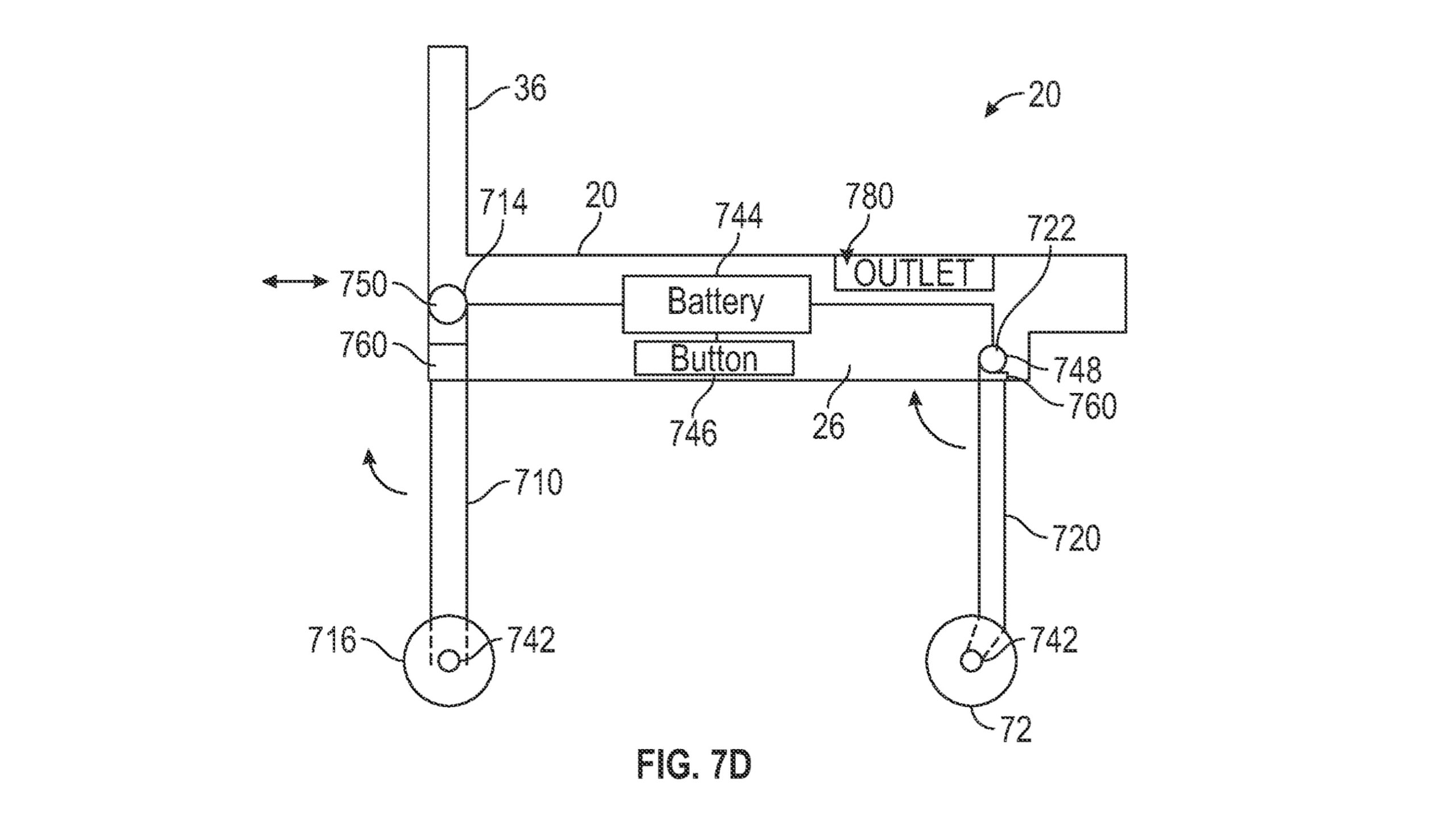
So, what’s the big idea? Picture a sliding cart built directly into your trunk or truck bed. You load it up, slide it out, drop the legs, and you’ve got a portable rolling platform. The cart features retractable legs, built-in wheels, and can even come equipped with storage bins, fold-up sides, or a toolbox. Some versions in the patent even include optional electric motors and a battery pack for power assist—meaning you could literally drive the cart around like a powered dolly.
It’s designed to work in a variety of cargo areas—whether a traditional rear trunk, a pickup bed, or a front trunk (frunk) in an EV. It uses integrated rails or guide channels built into the floor or sidewalls, and the cart locks into place when not in use. The legs fold or rotate into the base, keeping everything compact when stowed. There’s even a collapsible version for tighter spaces.

This kind of flexible and modular utility system fits perfectly with Stellantis’ push toward more practical, electrified, and work-focused vehicle designs. If it finds its way into future Chrysler, Dodge, Jeep®, or Ram models, it could easily become one of those low-key features that customers can’t live without.











No replies yet
Loading new replies...
Join the full discussion at the Mopar Insiders Forum →